通联支付业务规模位居行业第三违规经营屡遭行政处罚

2024-03-10
来源:网络整理

通联支付系统客服电话_通联支付系统_通联支付系统客户端

文:零电财经

通联支付被列为被执行人,向现金贷平台引流,为非吸筹平台提供支付服务。

通联支付被列入被执行人名单,执行对象为15.4万元。

据媒体报道,作为民生人寿旗下的支付公司,通联支付不仅通过旗下通联钱包向现金贷平台引流,还被指向非立案平台提供支付服务。

01

业务规模位居行业第三

违法经营屡获行政处罚

近日,据中国执行信息公开网消息,通联支付网络服务有限公司(以下简称“通联支付”)被列入被执行人名单。 执行法院为上海市浦东新区人民法院,执行标的为人民币。

天眼查获悉,通联支付此次被列为正在执行,与邯郸创科贸易有限公司签订的委托合同有关。

通联支付系统_通联支付系统客服电话_通联支付系统客户端

通联支付系统客户端_通联支付系统_通联支付系统客服电话

公开信息显示,通联支付总部位于上海。 成立于2008年10月,注册资本14.6亿元,法定代表人万建华。 是一家基于第三方支付的金融科技服务公司。

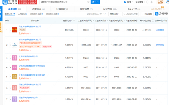
公开资料显示,通联支付共有30名股东,其中第一大股东为民生人寿保险股份有限公司,持股41.09%; 第二、第三股东为新华人寿保险股份有限公司、上海商岛投资有限公司,分别持有41.09%的股份。 比例分别为9.06%和9.04%; 此外,其他股东持股比例均低于7%。

通联支付系统客户端_通联支付系统_通联支付系统客服电话

通联支付系统客服电话_通联支付系统客户端_通联支付系统

2011年5月,通联支付获得央行颁发的《支付业务许可证》。 2016年,合并通联商务服务有限公司支付业务。

企查查数据显示,截至目前,通联支付已在全国设立36家省级分公司、280多个地市级营业部。 业务范围覆盖全国1800多个县,服务超过1000万商户。 年支付交易额超过6万亿元,机构布局和业务规模位居第三方支付行业前列。

业务规模超前,业务流程存在诸多违规现象。

天眼查显示,截至目前,通联支付已执行10次,执行金额近千万元。 今年7月,其河南分公司因未按《办法》第八条规定的期限披露年度报告,被郑州市市场监管局保税区服务中心列入经营异常名单。 《企业信息公开暂行条例》。

据蓝鲸财经了解,通联支付已多次受到行政处罚。 2018年3月,因违反相关规定、未办理变更登记,被国家市场监管总局罚款3万元; 2018年10月、2019年8月,因违反支付业务规定共被罚款106万元。 。 2021年1月,通联支付湖南分公司因未落实商户实名制,被央行行政处罚,罚款6万元; 更改交易信息; 收单、结算账户设置不合规。

黑猫投诉方面,有关通联支付的投诉超过6800起,其中大部分与退押金、莫名扣款等相关。

02

为非法投资平台提供支付服务

用于高利贷平台的流量引导

对于支付企业来说,合作伙伴的选择尤为重要,这在一定程度上体现了企业的审核能力和合规性。

然而,今年3月中国裁判文书网公布的一起非法吸收公众存款刑事案件中,通联支付涉案。

裁定书显示,中联金服互联网信息服务(大连)有限公司海城金融服务分公司(以下简称“中联金服海城分公司”)不具备中国银监会颁发的金融许可证,无吸收存款资格。 非法吸收公众存款9285.03万元,最终损失5541.85万元。

在此过程中,中联金服海城分公司业务人员召开答谢会,并承诺高额利息回报,诱导投资者向通联支付等第三方平台存款,再转至涉事公司。以沉阳华城和深圳前海为例。 汉哈帐号。

毫无疑问,在这起非法投资案中,通联支付为上述违法平台提供了支付服务。

不仅如此,通联支付还向高利贷平台引流。

据《投资一线》报道,2019年,通联支付通过全资控股公司上海嘉定通化小额贷款有限公司(简称“通化小额贷款”)非法为现金贷、714高炮平台提供支付渠道。贷款”)。 不过,2021年,通化小贷已被出售给医美平台新氧。

值得一提的是,此前,通化小贷销售人员表示,在监管下,只会对接持牌消费金融公司,停止高炮和现金贷平台业务,但事实上,情况并非如此。

目前,通联支付仍通过其运营的“通联钱包”开展贷款业务。 官网介绍,通联钱包是一款主要提供便捷生活服务、特色电商服务、理财服务和移动支付服务的移动支付产品。 截至2018年8月,已服务超过700万用户。

据App介绍,通联钱包的一大特色功能是汇聚一站式理财超市,提供安全、低息的“带薪贷”服务,一键申请、快速放款。

下载通联钱包APP,点击“借钱”,发现APP将流量引流至宁波银行、唯品会富邦、新网银行。

通联支付系统客户端_通联支付系统_通联支付系统客服电话

值得一提的是,通过点击“拿花”,平台还为分期电商平台聚多多旗下的“聚享借”引流,年化利率在18%至24%之间。

公开资料显示,聚多多的运营主体为位于辽宁自贸区(营口)的聚子数字科技有限公司。 其橙分期于2014年9月推出,定位为大学生分期商城,涉足校园贷款。

2017年7月,由于监管限制网贷机构开展校园贷,橙分期转型为分期业务。 2020年6月,橙分期商城更名为聚多多商城。

今年2月,有媒体报道聚多多商品分期年利率高达24%,现金贷年利率高达36%。

通联支付系统客服电话_通联支付系统_通联支付系统客户端

分享